Thermo Fisher Scientific Logo

      十月实施!GB/T 5750-2023《生活饮用水标准检验方法》系列标准,一键获知!

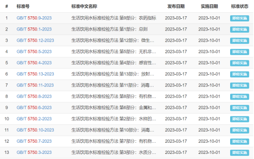
      《生活饮用水检验方法》(GB/T 5750-2006)修订进展一直引起大家关注。2023年3月17日,国家市场监督管理总局(国家标准化管理委员会)批准发布GB/T 5750-2023《生活饮用水标准检验方法》系列标准,自2023年10月1日起实施。

      此次修订除了满足《生活饮用水卫生标准》中水质指标的检验需求,提高饮用水水质检验工作的效率,更主要的是解决了GB/T 5750-2006存在的问题和不足。

      1、方法灵敏度不足

      对挥发酚、农药等部分指标,检验方法落后于检测技术的发展现状,与检测仪器不相匹配,或者不能充分发挥现代检测仪器的效率,造成检测工作量和检测成本增加。

      对环氧氯丙烷等个别指标,所推荐检验方法的检出限高于GB5749中该水质指标的限值。

      2、缺少部分指标的检验方法

      附录A(生活饮用水水质参考指标及限值)中多数水质指标缺乏检验方法。

      3、方法便利性不足

      衍生化处理单物质分析

      余氯、总氯

      4、方法自动化不足(挥发酚、氰化物)

      5、质谱技术应用不足

      针对上述问题,新版的《生活饮用水标准检验方法》 完成了针对性修订工作,总体而言:

      感官性状和物理指标:1项指标,2个方法
      无机非金属指标:2项指标,3个方法
      有机物指标:55项指标, 7个方法
      农药指标:30项指标,9个方法
      消毒副产物指标:14项指标,1个方法
      消毒剂指标:2项指标, 2个方法
       涉及 24个方法,104项指标

      点击此处,立刻获赠GB/T 5750-2023《生活饮用水标准检验方法》系列标准文件压缩包一份,赛默飞客服专家也会与您分享实验室解决方案!

      点击此处立刻获赠 GB/T 5750-2023《生活饮用水标准检验方法》系列标准文件

      文字、图片来源:中国给水排水、全国标准信息公共服务平台

      此网页由 赛默飞 委托 生物通 制作
      GB/T 5750-2023《生活饮用水标准检验方法》系列标准政策文件皆转自全国标准信息公共服务平台官网,赛默飞仅做文件的整理与转发。